TECEPROFIL FJÄRRSPOL NING MOTOR

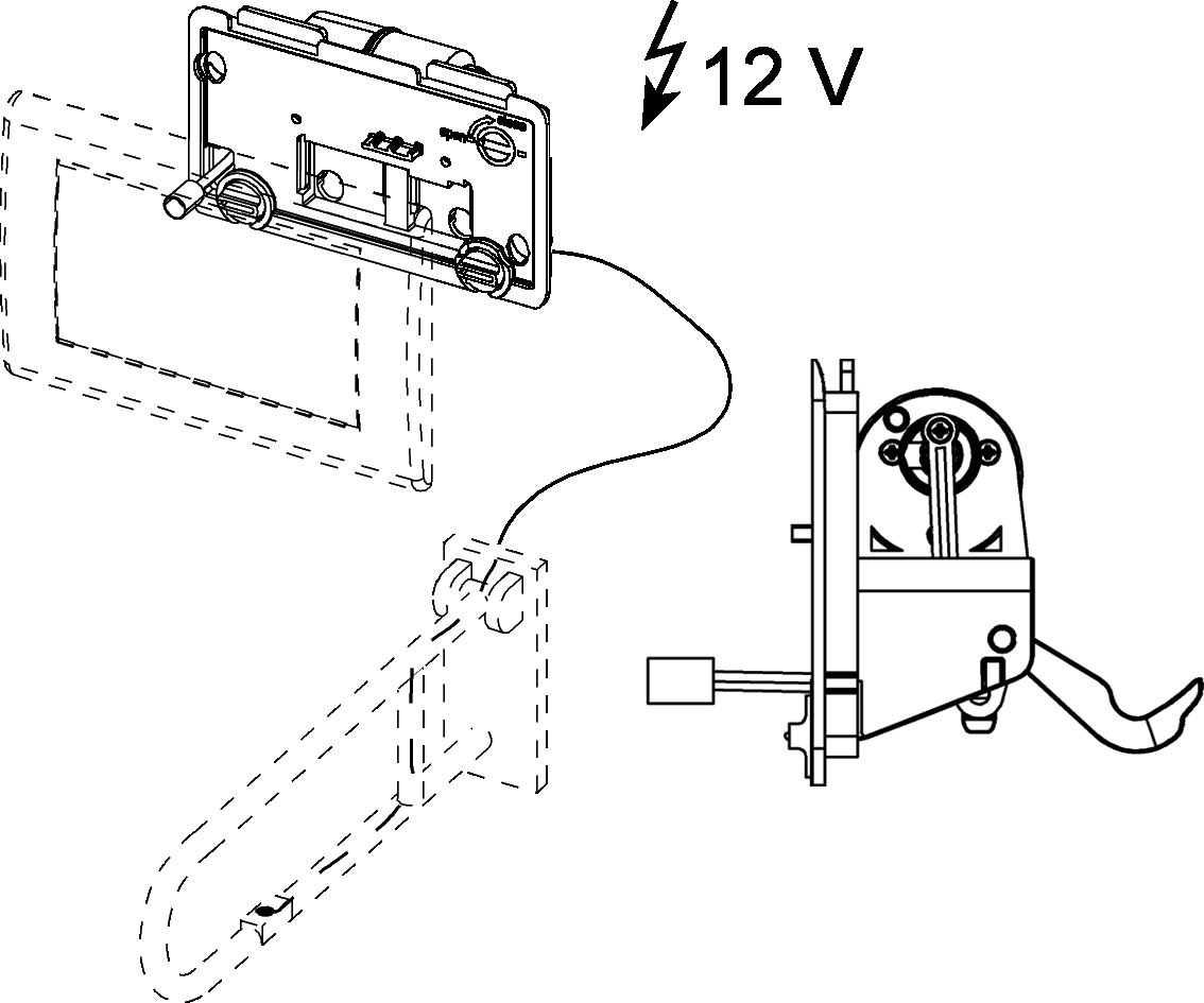
TECEplanus Kabel spolenhet, 12/230V. För barriärfri konstruktion, för fjärrmanövrering av TECE WC-cistern via aktiveringsknapp på armstöd eller vägg, kan även manövreras manuellt via spolknapp. Består av: Vattentät batteribox med litiumbatteri, typ 2CR5, 6V DC Elektronisk spolanordning Nätanslutningsdel (transformator och kabel beställs separat) Beställs separat: Spolknapp, enkelspolning TECEprofil Planus Transformator 230/12V, RSK 7926145 TECEprofil Planus Elkabel 230/12V, RSK 7926146
Info 1 Art nr Info 2 Bruttopris inkl. moms
7722555
Effekt/Eldata: 12/230V
Funktion: till tryckplatta Planus IR
Färg: svart
Innehavare: TECE Sverige AB
Leverantörens art.nr.: 924057
Material: plast
Utförande: med sprutskydd